型 號:KH型
規 格:200kg~1500kg
公司名稱:日本鷹牌EAGLE CLAMP
保質周期:12
價 格(≤ 1) ¥電議 /臺
優惠價格(≥ 5):電議

![]()
EAGLE CLAMP KH管起吊用夾具特點:
● KH管起吊用夾具,輕量緊湊型,狹窄的地方也容易作業;
●KH管起吊用夾具安裝、嵌合極其簡單,容易操作;
● KH管起吊用夾具鎖銷的插頭雙重鎖機構,高強度焊接機構本體,表面烤漆(環氧涂料)。
● KH管起吊用夾具擁有強大自動緊固機構,夾緊力隨載荷物重量成比例增強;
● KH管起吊用夾具,不會側滑,可斜度45°傾斜角度吊;
● KH管起吊用夾具,無傷型夾鉗,采用聚氨酯墊避免造成劃痕;
KH管起吊用夾具用途:管道運輸、搬運、鋪設、配管
KH管起吊用夾具適用鋼材:鑄鐵管、鋼管、塑料涂層管、圓棒
![]()
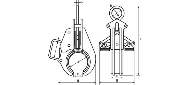
EAGLE CLAMP KH管起吊用夾具尺寸圖:

EAGLE CLAMP KH管起吊用夾具參數:
| 型號 | 最大載荷 kg |
有效尺寸 (毫米) |
尺寸mm | 質量 kg |
||||||||
| A | B | C | D | E | F | G | H | R | ||||
| KH-100 | 200 | 114~124 | Φ125 | 198 | 65 | Φ50 | 180 | 350~410 | 60 | 12 | 37 | 6.5 |
| KH-150 | 300 | 164~174 | Φ175 | 253 | 92 | Φ50 | 180 | 404~464 | 60 | 12 | 37 | 8.3 |
| KH-200 | 350 | 215~227 | Φ230 | 314 | 120 | Φ50 | 278 | 475~525 | 60 | 12 | 37 | 11.8 |
| KH-300 | 600 | 315~335 | Φ340 | 447 | 200 | Φ50 | 278 | 632~732 | 70 | 16 | 42.5 | 21.1 |
| KH-500 | 1500 | 500~540 | Φ544 | 764 | 278 | Φ60 | 664 | 1034~1140 | 120 | 19 | 55 | |
注:由于產品不斷改良,當外形與參數變更時,均以實物為主,想要了解更多產品詳情可電話聯系我們.
![]()

![]()
EAGLE CLAMP KH管起吊用夾具為日本原裝進口產品,保質1年,我公司承諾凡是客戶在我公司定購的進口類產品均為原裝正品,絕不存在拆件貨,換件貨,假冒品牌產品,凡客戶從我公司訂購該品牌產品如收到貨物時發現有拆件貨,換件貨,假冒、假貨仿貨均以100倍金額賠償。